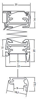
BB 65Verspanntes Modell für Fenster mit einer seitlichen Schräge
Modell-Information
cortina_bb65