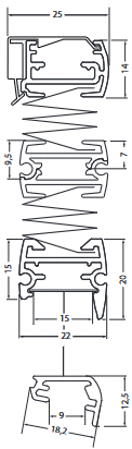
BB 86Verspanntes Modell für fünfeckige Fenster und zwei Schrägen unten
Modell-Information
cortina_bb86